Login
单品仪器和行业成套实验室检测仪器一站式配置厂家和代理联盟
收藏

天然气全组分和热值分析气相色谱仪

    请选择规格

  • 气相色谱仪是一种通过生物融合色谱法和检测技术原理而生产的新型设备。它可用于气体组分浓度检测和混合物分离之类的情况。通常,气相色谱仪主要由进样阀,检测器,信号
咨询电话:18620024088
手机购买

  气相色谱仪是一种通过生物融合色谱法和检测技术原理而生产的新型设备。它可用于气体组分浓度检测和混合物分离之类的情况。通常,气相色谱仪主要由进样阀,检测器,信号处理器,载液,色谱柱,温度控制箱和控制器组成。宏观上,气相色谱仪可分为两个单元:分析和显示。气相色谱仪的气道系统是一个封闭的管道系统,色谱图中载气不间断。采样是指将气体或液体样品均匀且定量地添加到色谱柱的上边缘。检测器的主要功能是指定由色谱柱分隔的样品,然后根据含量将其转换为电信号。温度控制系统用于控制和测量色谱柱、检测器关键部位的温度。
 
气相色谱仪可分为两种:气固色谱仪和气液分布色谱仪。尽管两个固定相位不同,但仪器的结构相同。该方法不需要标准的材料作为基础,具有检测简单,快速的优点,但存在分析误差,适合于工矿企业日常测量和检查天然气产品。近年来,在该领域中越来越多地使用外标定量方法,使用气相色谱仪的TCD,色谱柱和载气替换相应的组分,并完成测量天然气组分(氧、氮、氦、二氧化碳),为此,使用氢火焰探测器(FID)来完成有机物(C1至C6)的测量。
 
该方法测量周期长,但不确定度小,测量精度高。由于气体参考元素的合理质量以及价值的寻找和比较,该方法被所有国家广泛采用。该方法的测量准确度和其他性能参数的检查以及与国际实验室制备的天然气参考材料和参数的比较,验证了该方法的可行性和准确性以及寻找价值的方法。实验证明该分析系统也适用于催化裂化气,液化气,烟气,制氧厂气,氮气,氦气,二氧化碳,一氧化碳,C1~C5+(C5以上的碳氢化合物)范围为0.01%~100%(摩尔/摩尔)。在这项研究中,基于近年来对天然气的国际比较,模拟并准备了天然气标准材料,在此基础上,建立了天然气色谱分析方法和测定方法,并对气相色谱分析方法进行评价和比较方法研究。
 
1 试验部分
1.1 主要仪器
(1)气相色谱仪
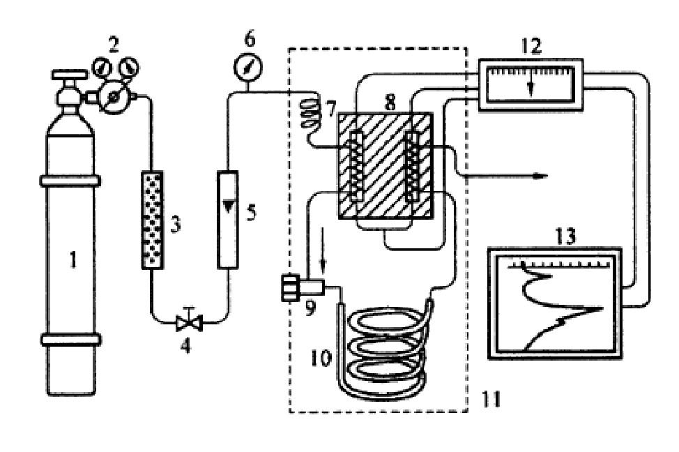
使用气相色谱仪,气相色谱仪由五个主要部分组成:载气系统,采样系统,分离系统,检测系统和记录系统。通过压缩,净化和测量后使钢瓶中的气体到达采样系统,在其中与样品混合,然后将样品送至分离系统进行分离。分离出的成分流出分离系统,并被载气携带到检测器。将检测器组件的浓度或质量转换为电信号,并由记录器记录下来以获得气相色谱图。气相色谱仪和流程图如图1所示。
 
图1 气相色谱装置及流程图
天然气全组分和热值气相色谱分析仪(图1)
注:1、载气瓶;2、减压阀;3、净化干燥管;4、针型阀;5、流量计;6、压力表;7、预热管;8、检测器;9、进样器和气化室;10、色谱柱;11、恒温箱;12、测量电桥;13、记录仪
 
(2)标准气
GBW(E)061322天然气成分分析标准材料:氦气,氢气,二氧化碳,乙烷,丙烷,异丁烯,正丁烷,异戊烯,正戊烯,新戊烯,正己烷,甲烷氧(甲烷)U=1%,K=2),编号489620,装在8 L铝合金气瓶中,填充压力为9 MPa;编号234960,装在8L铝合金气瓶中,填充压力4.4 MPa
 
1.2 色谱条件
进样口温度和进样器均为90℃,柱头压力为206.8 k Pa,回闪时间为7s,运行时间为300s。通道A:分子筛柱,柱温50℃;通道B:绘制U柱,柱温70°C;通道C:氧化铝柱,柱温140℃;通道D:分子筛柱,柱温80°C。通道A的载气为氩气(纯度为99.99%),通道B,C和D的载气为氦气(纯度为99.999%)。进样量1u L。
 
1.3 试验方法
天然气的标准物质和天然气样品应使用气相色谱仪进行检查,采样方法为1次进样。通过泵抽吸样品清洁管道后,把4根色谱柱通过色谱柱前面安装的4个微型六通阀相结合,并且在同时进样分析。将编号为489620和234960的标准气瓶连接到设备,将瓶的出口压力调整为约0.2 MPa,并将气体流速控制为约80 m L/min。校准仪器后,即可分析气体组分分析。检测仪器会自动收集数据。对未知天然气样品(包括天然气参考材料)的成分进行定性和定量分析。通过标准成分中每个已知成分的保留时间定性确定样品所要处理的成分,并根据峰区域的大小通过外值法对其进行定量。对于摩尔分数不超过5%的成分,与标准气体相对应的成分的摩尔分数应不超过10%,或不小于样品成分密度的一半。对于摩尔分数大于5%的成分,与标准气体相关的成分浓度应不小于样品中成分浓度的一半,或不大于成分浓度的两倍。
 
1.4 校准方法
天然气的主要成分是甲烷,除了少量的C2H6,C3H8,C4H10,C5H12,N2,CO2等外,天然气的每种成分在色谱柱中都有不同的吸收和分辨能力,这会使每个组件的时间都不相同。其中,通过TCD1检测了极性物质C3H8,C4H10,C5H12和C6+。TCD2检测N2,CH4,CO2和CH2H6非极性物质。
 
1.5 天然气组成校准气体的配制
根据近年来天然气国际比对的情况模拟制备了组分量值的天然气气体标准物质,其组分和组分含量见表1。
天然气全组分和热值气相色谱分析仪(图2)
 
2 结果与讨论
2.1 精密度试验
使用重复性和再现性来确定仪器的准确性。该测试的可重复性是指一个人进行的三个测量结果之间的差值的最大值与三个人进行的同一样品的测量结果之间的可重复性差值的最大值。重复性和再现性测试的结果将分别显示在表2和表3中。
 
表2 重复性试验结果
天然气全组分和热值气相色谱分析仪(图3)
表3
 
天然气全组分和热值气相色谱分析仪(图4)
天然气全组分和热值气相色谱分析仪(图5)
2.2 准确度实验
为了测试材料分析结果的准确性,采用天然气标准气体234960作为分析用样气。分析结果如表4所示。该方法的最终结果准确可靠。
 
天然气全组分和热值气相色谱分析仪(图6)
3 结语
结合实践,气相色谱仪更适合于小分子量的气体,并且可以生成许多大分子量的挥发性气体化合物,因此无法通过气相色谱法进行分析。在将气相色谱仪用于天然气成分分析的过程中,仪器的安装位置不应与天然气相距太远,否则会影响测试结果的及时性。应当指出,氢火焰离子化检测器FID只能检测离子化的碳氢化合物。在这种情况下,工人必须使用甲烷转换器才能继续检测有机化合物。检测硫化物时,工作人员必须适当增强设备对硫和线性范围的敏感性。另外,为确保气相色谱仪的使用寿命,在使用过程中必须严格按照规定进行维护工作。采用气相色谱仪进行天然气材料分析的方法具有成本低,操作简便,效率高,可靠性强的特点。该设备的灵活性使其不仅可以同时使用,而且可以独立使用。

地址:广东省广州市白云区机场路111号3F 天津市东丽区华明街道垠坤未来汇B20号 上海市嘉定区沪宜公路1101号越界产业园五号楼
18620024088
工作时间:09:00 - 17:00